<<新主題 | 舊主題>>
娛樂滿紛 26FUN » 手機版 » 讓耳機音質前所未有的提升!蘋果將推氦氣耳機
返回列表 回復 發帖

讓耳機音質前所未有的提升!蘋果將推氦氣耳機

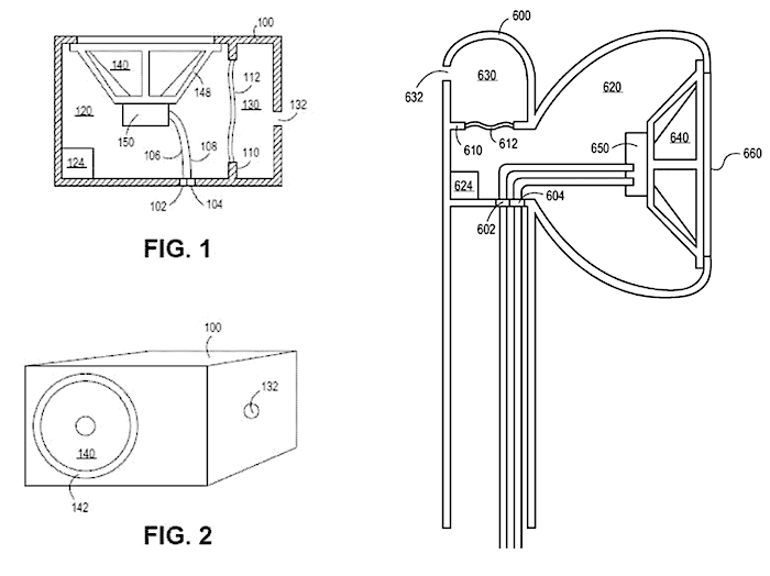
蘋果近日再取得一項全新的耳機專利,顯示蘋果日後將會推出一款具備高保真能力的耳機。專利文件中所見,這是一款與「等離子揚聲器」相似的耳機設計,在產生震動的鼓膜後充滿比空氣更輕的氦氣氣體。在耳機內揚聲器後利用這款特別的氣體,而非排走空氣是為了提高耳機的保真度。不過,目前已有的耳機暫時只可在特定的氣壓環境下使用。

由於日常生活環境下,時常有不同氣壓的環境,例如坐電梯等等,氣壓的改變會令這種需要密封式設計的耳機鼓膜因氣壓而無法有效震動,蘋果需要開發一款新技術,讓氣壓可以得以平衡。因此蘋果研發出一個方法,就是利用一個氣孔,氣孔內設有一個特別的膜狀屏障,可以阻止密封氣體外泄的同時,亦可使空氣可以自由進出,對密封氣體加壓,平衡周圍的氣壓。
返回列表 回復 發帖
<<新主題 | 舊主題>>
娛樂滿紛 26FUN » 手機版 » 讓耳機音質前所未有的提升!蘋果將推氦氣耳機

重要聲明:26fun.com為一個討論區服務網站。本網站是以即時上載留言的方式運作,26fun.com對所有留言的真實性、完整性及立場等,不負任何法律責任。而一切留言之言論只代表留言者個人意見,並非本網站之立場,用戶不應信賴內容,並應自行判斷內容之真實性。於有關情形下,用戶應尋求專業意見(如涉及醫療、法律或投資等問題)。 由於本討論區受到「即時上載留言」運作方式所規限,故不能完全監察所有留言,若讀者發現有留言出現問題,請聯絡我們。26fun.com有權刪除任何留言及拒絕任何人士上載留言,同時亦有不刪除留言的權利。切勿撰寫粗言穢語、誹謗、渲染色情暴力或人身攻擊的言論,敬請自律。本網站保留一切法律權利。